1.潔凈室塑料管道的連接技術要求
(1)為保證PVC、ABS、PP管道施工的質量,施工場地環境必須干凈、無漏水,在環境溫度不低于5℃、相對濕度不大于85%的條件下進行粘結和焊接,否則可能會降低粘結、焊接質量。
(2)管道粘結前的表面要進行處理,通常方法如下:
1)用中號玻璃砂紙或剛玉砂紙砂磨;
2)用干凈碎布擦凈砂磨好的表面
3)用清潔劑(如丙酮、二氯乙烷)擦凈砂磨表面殘余污物。
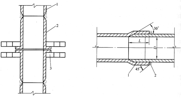
(3)PVC、ABS、PP管道的粘結、焊接和粘結后再焊接的具體形式參見圖1~6。

圖1 平焊法蘭

圖2 套筒式粘結和焊接

1-鋼或塑料法蘭 2-管道 3-焊環
圖3 焊環活套法蘭

圖4 擴口活套法蘭

1-管道 2-帶凸緣接管 3-注塑活套法蘭
圖5 注塑活套法蘭
1-膠合 2-焊接
圖6 承接粘結和焊接
2.不銹鋼管道的連接設計要求
(1)不銹鋼管道的連接方法為焊接和法蘭連接。
(2)用于純水、高純水的不銹鋼管道直接焊接產生的氧化物不易清除,影響高純水純度,盡量減少管道的直接焊接,在不銹鋼主管兩端多采用焊環活套法蘭和凹凸法蘭。
(3)法蘭一般用碳鋼制作,管子主體和法蘭之間加塑料墊片(軟聚氯乙烯或聚四氟乙烯板),以免兩者接觸產生晶間腐蝕。
(4)不銹鋼(奧氏體)管道焊接工藝應根據《現場設備、工業管道焊接工程及驗收規范》(GB 50236-1998)的要求進行。
(5)純水、高純水管道在安裝前雖然已經清洗,但在安裝過程中可能會受到二次污染,管路安裝后,應對管路系統再次清洗,使得管路出水口純水的純度達到設計要求為止。


