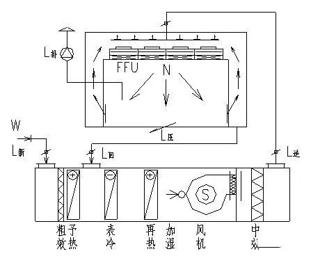
空調機組(AHU)加風機過濾器單元(FFU)的空氣處理方案見圖1。

圖1 空調機組(AHU)加風機過濾單元(FFU)空氣處理方案示意圖
此方案中的空調機組承擔了所有熱(冷)濕負荷的處理,包括室內負荷和新風負荷的處理,還要進行初、中效過濾,空調機組的風量就是消除室內熱濕負荷所需的風量,FFU的風量就是滿足潔凈度所需的風量,AHU加FFU的空氣處理方案的空氣處理過程和一,二次回風空氣處理過程相同,計算負荷時不要漏了FFU風機的溫升形成的負荷,這部分負荷的量也是比較大的,這種空氣處理方案是將處理熱濕負荷所需的風量和潔凈所需的風量分開,這時循環空調箱(AHU)所需的風量就大大的較低了,不僅節省了運行能耗而且還大大的減少了空調機房的面積,減少了龐大的送、回風管的材料和占據的建筑空間,使潔凈廠房的總高度可以降低,節約了初投資。圖3-12是其它空氣處理過程。

圖2 空調機組(AHU)加風機過濾單元(FFU)空氣處理焓濕圖(I-D)



